Images
![]()
© E. Nissen-Petersen, Kenya
|
A leaking water tank made of galvanized iron sheets
|
![]()
© E. Nissen-Petersen, Kenya
|
Chicken mesh tied to the interior of a tank
|
![]()
© E. Nissen-Petersen, Kenya
|
A repaired tank
|
![]()
© E. Nissen-Petersen, Kenya
|
Repaired oil drums
|
![]()
© E. Nissen-Petersen, Kenya
|
An oil drum used for roof catchment at a rural home
|
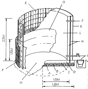
![]()
© Natural Farming Network (Vukasin et al. 1995)
|
Sketch of a watertank
|
![]()
© E. Nissen-Petersen, Kenya
|
An internal apron can be made with a short length of bamboo or an empty beer bottle.
|
![]()
© E. Nissen-Petersen, Kenya
|
An external apron is made with a wooden trowel.
|
![]()
© E. Nissen-Petersen, Kenya
|
Weld mesh cut to fit foundation.
|
![]()
© E. Nissen-Petersen, Kenya
|
Weld mesh wrapped around a tank.
|
![]()
© E. Nissen-Petersen, Kenya
|
Chicken mesh and barbed wire wrapped around a cracked tank.
|
![]()
© E. Nissen-Petersen, Kenya
|
A newly plastered tank must be cured for three weeks.
|

Back











